多平台助力 居家也能上实操课 ——《财务软件》线上教学案例

2020-08-17 17:12:44 张嘉欣

一场突如其来的疫情,打乱了开学授课的节奏。新冠肺炎疫情期间,为了落实教育部“停课不停学”的部署要求,也为了继续推进“互联网”+教学的新时代教学模式,《财务软件》课程组发挥团队力量,整合各方资源,以注重良好的教学效果为宗旨,提高学生学习的主动性和积极性为目的,科学合理地安排课程线上教学内容,充分运用信息化手段的优势合理设计教学内容和进度,与学生积极互动,保障教学质量,并利用抗疫事迹,融入课程思政,传播正能量,增强学生的爱家爱校爱国情怀。

一、在线教学的计划与准备

为减少疫情对学校正常教学的影响,会审系多次召开线上线下会议,积极针对线上课程的开展组织研讨,要求每位老师尽量做到“线上线下都一样”的教学效果,要达到这个目标,对于《财务软件》这种非纯理论教学、操作性极强、有实训实验室操作环境要求的课程,提出了极大的挑战:

1、需要每个同学具备一定的操作环境和条件,其中经过对任课班级是否具备实训操作条件进行了问卷调查,有三分之一的同学家里没有电脑,或者存在财务软件难以安装使用的问题。这就要求想要开展《财务软件》课程,必须寻找到能够在PC端和手机端都能共用的操作平台,才能实现教和学一起操作。

2、课程难度大,内容多,在线下实训课过程中,经常发现每个学生出现的操作问题各有不同,由于操作习惯和细节的原因,解决问题的方法也需要面授交流才能实现,并且需要查看学生的操作记录,这在线上教学中几乎不可能实现,每人在自己的电脑端单机操作,很难进行查阅和互动。如何实现实训内容的教学和操作问题的解决成为了最大的障碍。

3、财务操作软件平台安装在实训教室,是否有能够替代的实训平台,以及如何实现其与教学内容的衔接是线上教学的主要关注点。

4、教学质量如何跟踪,学生是否有效掌握,如何准确反馈线上课程的教学效果,保障教学质量。

二、教学设计

1、调整财务软件的实操软件,寻找适用于所有学生,便于PC端及手机端都可以进行操作的实践平台,经过多平台比对,最终选择柠檬云财务软件平台,能够用微信号免费注册登陆。

2、以会计信息化教研室自建的教学资源为主,配合其他互动工具,如超星网络学习平台、微信群、qq群、钉钉等展开教学。结合优质的教学资源库,如中国大学MOOC、智慧职教、学堂在线、好大学在线等平台资源进行补充。


3、要求总结金蝶与柠檬云财务软件平台的异同,以此促进教学内容的衔接转化,不仅将本学期的教学任务完成,学生还多掌握了一个柠檬云平台操作的财务软件内容。

4、每月进行一次课程教学效果反馈,根据学生反馈的问题进行调整。学生提出的问题,在下一周的教学录屏中先予以解答,消除学生学习的困惑,保障课程教学的体系化和完整性。

三、教学过程

1、组织直播课试讲

组织上课班级班委,参与直播课试讲,确保每个人能都会使用超星平台参与到直播课程中,回去传达给同班的其他同学。

2、测试财务软件平台

电脑端和手机端同时测试柠檬云平台是否能满足所有同学的使用需求,是否能够完成一个完整账套的处理,是否能够记录学生的操作过程,实现线上互动。

3、第一次直播课

1)课程简介和不同财务软件介绍

通过对课程的介绍,强调课程的重要性,让同学们了解本学期课程的主要学习内容,并对课程的重要章节给出学习建议。同时,详细介绍了市面上正在使用的财务软件及其功能、试用对象,并点明金蝶、用友等财务软件安装包的下载地址,对有需求安装单机版的同学给与指导。最后,比较几个云平台对现有课程学习的作用,阐明选择柠檬云平台的好处以及链接原定金蝶、用友财务软件的学习计划安排。





2)“超星”平台的介绍

介绍平台的课程成绩管理。开课前向学生明确课程的分数构成、评分规则,学生可通过手机时时查分和班级排名,利用荣誉感促进学生学习的自主性和积极性。


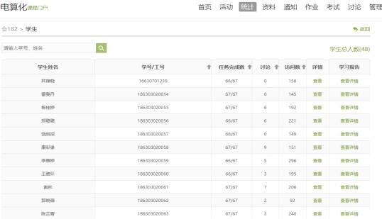
介绍平台的课程章节任务点功能。告知同学们每一个章节老师均设置了任务点,主要由老师的知识点录播视频和课程拓展阅读(知识储备)两大模块组成。平台强大的日志记录功能,准确地记录了每位同学观看视频的时长、观看回放的时长,强调这是课程线上教学的重要监督手段,也将成为课程考核的重要依据。


介绍平台相关的学习资源、签到、选人、讨论、作业、考试等功能,并强调平台详细的作业统计功能,提醒同学们及时提交作业。


4、日渐常规化的线上课程

1课前布置预习

老师们根据下次课的教学内容事先制作并发布相关内容,推送实操练习,出于试错原则,要求学生先进行操作练习,不做任何操作指导。

2)课中观看操作视频

其中,有直播、录播视频和自建课操作视频



课程还融入了思政教育。做法一,在录制的视频中,结合知识点进行职业道德教育;做法二,每堂课推送一个抗疫新闻,关注时事,弘扬正能量;做法三,协助学生使用各种信息化手段和线上平台,增强学生的学习信念,给与初级会计职称考试的学习资料让其完成计划,转移注意力。


3)课后实操巩固技能

课后,学生可重复学习老师们录制的视频,根据实训资料做相关的操作,随时可在微信上反馈操作过程中遇到的问题,老师可通过邀请学生扫码的形式登陆到学生的操作界面,查看具体问题,并予以解答。另外,老师们还发布了本知识点的讨论题和拓展阅读,帮助学生巩固专业实操技能,比较不同财务软件平台的异同点。




4)课程反馈调整

每月进行一次课程教学效果反馈,根据学生反馈的问题进行调整。每周汇总学生遇到的问题,在下一次直播或录播中进行解析。


总之,依托超星网络学习平台,《财务软件》线上教学做到了“一课五配套”,就是一次直(录)播课配套一个预习操练、一个课堂笔记、一个视频、一个课后讨论题、一个拓展。


四、教学评价

整体来说,《财务软件》线上课程的完成效果不错,有直播、有录播、有自建课程资源、有推荐课程资源,有话题讨论题,通过与学生的操作日志检查和作业情况检查进行互动,能够充分了解学生的学习情况。

1、直播视频收看情况

每次直播提前通知时间和直播地址,直播时在课堂中配合点名签到,登记未出席学生,通过互动,及时掌握直播观看情况,确保学生在线收听。

2、视频的收看情况

根据平台的统计数据和学生观看照片反馈,对未观看课程视频、完成教学计划的同学,及时联系,进行批评教育,如未改正,扣除平台学习积分。


3、作业及平台使用情况

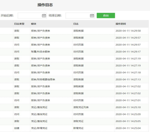
每节课配合一个作业,要求限时提交,认真批改学生提交的作业,在下一次课堂直播或录播时,指出错误的地方,根据平台作业完成统计数据,定时在班级群中进行点评,奖罚分明,提醒同学们准时提交作业。另外,通过对柠檬云学习平台的操作日志检查,可实时连线学生,查看其平台操作记录,作为完成和掌握效果的检查依据。



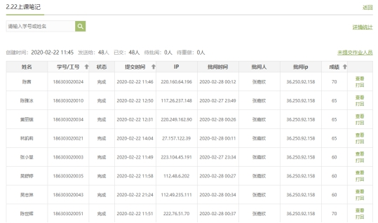
4、学习笔记整理情况

通过学生对学习内容的笔记整理,提交给老师批改,及时了解学生是否听清楚直播和录播的内容,是否能够掌握老师传达的知识,如有笔记失误或者疑惑,可及时解答。


五、教学反思与改进

1、课程特色

鉴于实操课的课程特点,需要学生结合学习视频自己进行操作,否则无法利用理论学习掌握相关内容,柠檬云平台可以在线上实现总账系统的操作,操作简单,无需额外费用,且非常适用于小微企业,符合我系的人才培养定位,不会耽误学生学习的进度,且掌握了一个对未来工作有很大帮助的财务软件使用。

2、课程展望

柠檬云平台的进销存系统、发票系统以及报税系统是非常符合会计实务的模块,值得推广运用,但目前课程资料有限,还没达到最大限度的深度学习,需要进一步进行教学设计和学习资料补充。

学习通平台的学习情况统计内容有限,老师还需要进一步跟踪学生的学习状态和任务完成情况。


后记:本案例转载自《泉州经贸职业技术学院在线教学典型经验、典型案例精选》(第2期),是会审系党员教师——张嘉欣老师线上课堂教学经验的总结。根据国家教育部和省教育厅关于“停课不停教、停课不停学”的要求,学院和系部高度重视,精心谋划,积极响应、协同联动,保障线上教学有序开展。党员教师既是共产党员,又是人民教师,党员教师模范带头作用的发挥,对于推动会审系教师队伍建设和提高教学水平起着至关重要的作用。


责任编辑:李英伟 吕丹华

我要评论 (网友评论仅供其表达个人看法,并不表明本站同意其观点或证实其描述)

全部评论 ( 条)

    本文为教师党员张嘉欣同志疫情期间居家线上进行《财务软件》实操课的课程教学案例。
    说明:热度榜主要以育人号最近72小时的活跃度(包括发文量、浏览量、评论数、点赞数)和近24小时的更新数为主要指标进行计算。其中前者占60%,后者占40%。
          Baidu
          map